首 页
交易业务
行业资讯
产品中心
培训中心
下载中心
关于我们
交易通知
交易信息
要闻聚焦
易洲专栏
电商动态
交易模式
入市流程
交易流程
交易标的
结算交收
违约处理
会员展示
合作银行
网银安全
技术中心
行业知识
市场制度
政策法规
软件下载
文档下载
产品展示
产品报价
煤炭
金属镁
兰炭煤焦油
电石硅铁
镁锭报价
集团介绍
企业文化
最新动态
企业简介
联系我们
搜索:
新闻
下载
设为首页
|
加入收藏
|
rss订阅
您的位置:
首页
>
行业资讯
>
电石硅铁
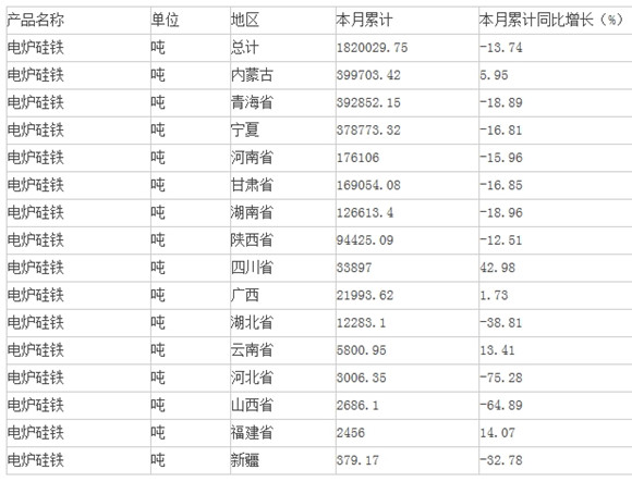
2015年1-5月中国电炉硅铁产量分析
发布时间:2015-07-13 11:40:12 来源:中商情报网 查看次数:
中商产业研究院数据显示:2015年1-5月生产电炉硅铁182万吨,同比下降13.74%。
分享到:
相关阅读
无相关信息
发表评论
共 有
条评论
用户名:
密码:
验证码:
匿名发表
热点推荐
国务院调整原油天然气等资
记者从中国政府网获悉,国务院总理温家宝21日主持召开国务
[06-30]
·硅铁市场现货氛围较好 钢厂主流招
[06-29]
·数量环比大增 北方代表性钢厂硅铁
[06-28]
·硅铁钢招最新:出价7140
[06-26]
·硅铁行情上涨 报价成交量价齐飞
[06-24]
·硅铁钢招定市场 别慌 稳住再等等
[06-22]
·硅铁大厂减产 库存紧上加紧 硅铁要
[06-19]
·硅铁节后返市,硅铁难显“波澜不惊
[06-11]
·硅铁现货市场偏向于弱稳运行
最新信息
[04-27]
·2012年第一季度中国电石市场综述
[04-13]
·内蒙古自治区:今年内电石铁合金实行
[03-13]
·3月13日中国硅铁指导报价
[03-12]
·3月12日中国硅铁指导报价
[09-20]
·中国铁矿石价格指数推出 发改委冀
[08-11]
·新兴产业规划下月出炉 新技术革命
[08-09]
·统计局:7月居民消费价格CPI总水平同
[07-28]
·媒体批外储非百姓血汗钱逻辑荒谬
关于我们
|
诚征英才
|
免责条款
|
法律顾问
|
联系方式
|
网站地图
|
手机版
陕镁集团_
陕西省镁金属电子商务中心
版权所有
陕ICP备16014093号-1
Copyright @ 2011-2016 Shaanxi e-Commerce Center of Magnesium All Rights Reserved.